Реактор на Америции-242м. Твердотопливный

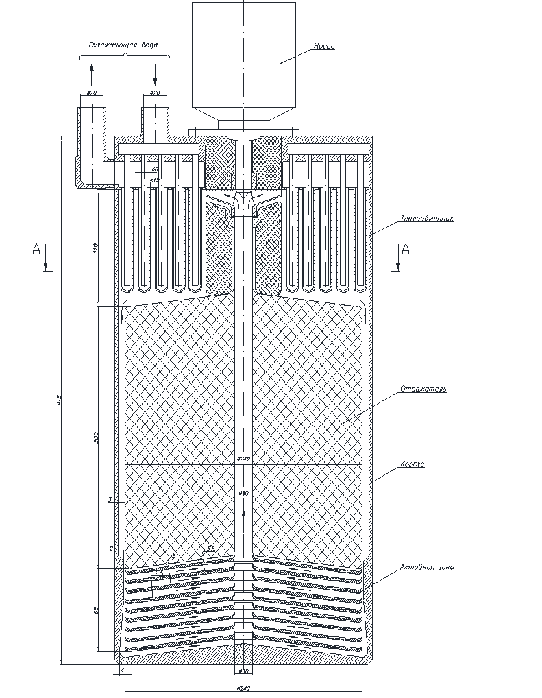
Реактор выполнен в виде моноблока (см. рисунок ниже). Такая компоновка позволяет иметь минимальный объем I контура. Состоит реактор из общего корпуса в нижней части которого расположена активная зона. Корпус выполнен из алюминиевого сплава средней толщиной 3 мм. В районе активной зоны зазор между корпусом и активной зоной выполнен 2 мм, который плавно увеличивается до 4 мм в нижней части. Такое профилирование корпуса позволяет иметь равномерный расход теплоносителя по высоте активной зоны.

Активная зона состоит из 9 корпусных дисков толщиной 2,5 мм. Диски расположены друг над другом с зазором 5 мм и дистанционируются радиальными ребрами. Каждый диск представляет собой твэл. Состоит твэл из двух оболочек толщиной 0,2 мм. На внутренней поверхности оболочек нанесено ядерное топливо толщиной 0,040 мм. Между оболочками расположен гидрид циркония. Оболочки по торцам сварены между собой. Оболочки из циркониевого сплава.

Над активной зоной расположен отражатель, образованный гидридцирконием, облицованный оболочкой из алюминиевого сплава. Внутренний канал диаметром 30 мм служит для отвода теплоносителя из активной зоны.

Над отражателем расположен центробежный циркуляционный насос и теплообменник. Теплообменник образован 243 трубками Фильда. Наружный диаметр каждой трубки 12 мм. Толщина стенки 1мм. Суммарная теплообменная поверхность - 1 м2. Циркуляция теплоносителя I контура осуществляется по следующей схеме:

Холодный теплоноситель по кольцевому зазору между корпусом и активной зоной подается на вход в активную зону. Теплоноситель движется от периферии к центру по зазорам между твэлами и через центральный канал направляется на вход циркуляционного насоса. Из насоса теплоноситель направляется в теплообменник, из которого подается на вход в активную зону.

Конструкция реактора на америции. Твердотопливный вариант

Параметры активной зоны реактора на америции. Твердое топливо

Параметр: Значение:
Мощность реактора, кВт 10
Топливо 241Am (65.5%)
242mAm (14.3%)
243Am (20.2%)
Диаметр активной зоны, см 35
Высота активной зоны, см 11.25
Масса топлива, г 400
Эффект Доплера, pcm/K -0.1
Температурный коэффициент теплоносителя, pcm/K -2.4
Плотностной коэффициент, pcm/% -622.7
^ Наверх